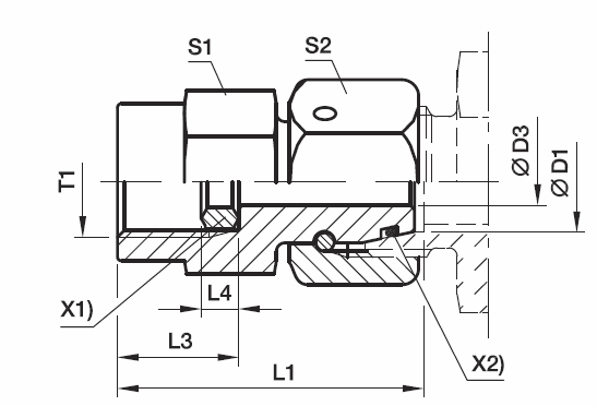
Mælatengi MAV/MAS - galvaníseruð

Galvaniseraður skerkónafittings fyrir háþrýstar vökvalagnir